Honda patents this teeny tiny electric motorcycle that snaps together with others like Transformers

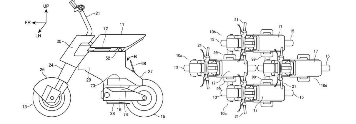
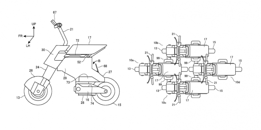
Honda may have its eyes on the lucrative shared electric mobility market, based on new patent images showing a fascinating little electric motorcycle or e-scooter variant.

more…

The post Honda patents this teeny tiny electric motorcycle that snaps together with others like Transformers appeared first on Electrek.