Rivian’s latest patents detail new headlamp and energy storage system with grid capabilities

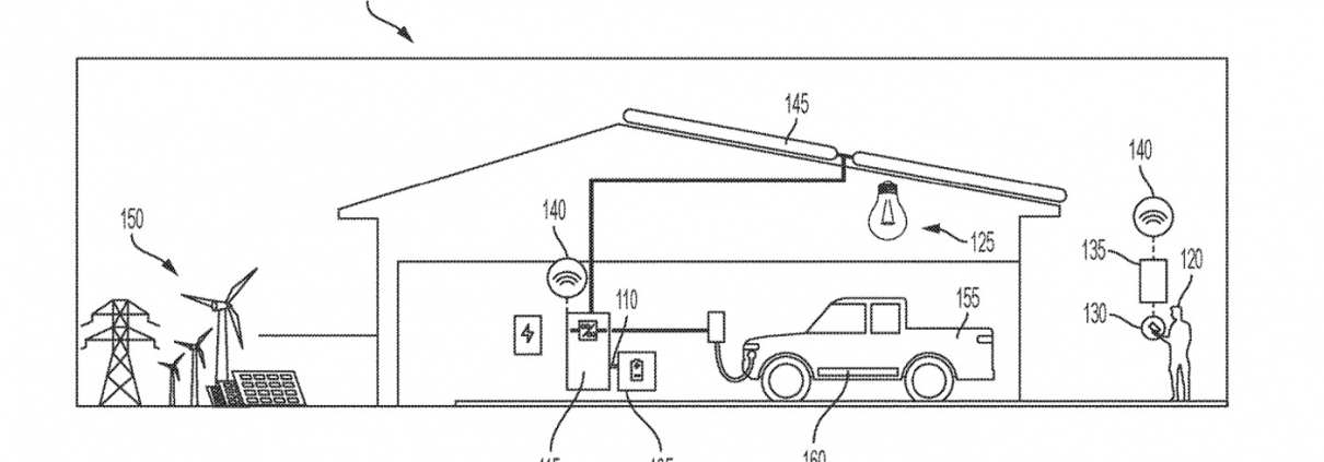
Another week, another patent filing with the USPTO from Rivian. Filings from Rivian, published today, detail an ornamental headlamp design, as well as a home energy storage system similar to Tesla’s Powerwall. Could this be our first glimpse at Rivian’s version of home energy management technology, including vehicle-to-grid (V2G) capabilities?



