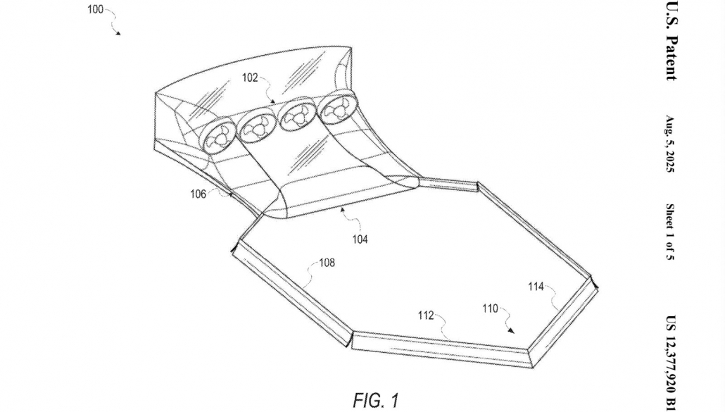
Tesla’s new Roadster patent doesn’t do what Elon said it would (and that’s good)

Tesla filed for a patent which looks like it could be the promised “SpaceX package” which it will supposedly include on its oft-delayed next-gen Roadster. But will the system let the Roadster “fly,” as CEO Elon Musk has promised?



